MPI TS2000 Автоматическая зондовая измерительная станция, 200 мм.
Специализированные конструктивные решения станции TS2000 направлены на удовлетворение требований рынка передовых процедур тестирования полупроводников (Advanced Semiconductor Test). Станция полностью совместима со всей системной оснасткой, выпускаемой компанией MPI. В основном, она разработана для анализа сбоев, проверки соответствия конструкции заданным требованиям, технологии ИС, надежности конструкции на уровне полупроводниковой пластины, а также особым требованиям, предъявляемым к измерениям устройств МЭМС, сигналов высокой мощности, высокочастотных сигналов и сигналов миллиметрового диапазона. Станция TS2000 поддерживает температурный режим (от температуры окружающей среды до высоких температур) и способна обрабатывать до 10 кристаллов в секунду в зависимости от окончательной конфигурации, предоставляя, таким образом, идеальный выбор для проведения электрических испытаний опытных образцов перед началом производства, например, на дискретных ВЧ устройствах.
Большая зондовая платформа
Автоматическая зондовая станция TS2000 имеет большую платформу для размещения микропозиционеров (до 12-ти DC или до 4-х RF микропозиционеров). Интеграция устройств активного согласования или микропозиционеров большой площади делает станцию TS2000 идеальным выбором для проведения RF и mmW измерений.
Легкая загрузка пластин
Большой передний люк обеспечивают легкость процедуры загрузки/разгрузки для пластин, диаметром 100, 150, 200 мм, фрагментов пластин или ИС размером до 5×5 мм.
Дополнительные держателя для калибровочной пластины и пластины для очистки щупов головки расположены в передней части станции для удобства и автоматизации загрузки/разгрузки.
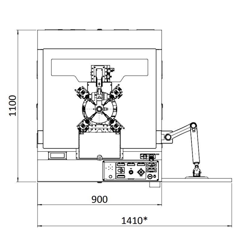
Интегрированная панель управления аппаратными средствами
Интеллектуальная панель управления аппаратными средствами полностью интегрирована в зондовую станцию и выполнена с учетом богатого опыта разработчиков и с учетом пожеланий заказчиков с целью обеспечения быстрого, безопасного и удобного управления станцией и выполнения измерений. Клавиатура и мышка имеют удобное расположение для управления станцией. Также для управления используются технические средства на базе операционной системы Windows®. Панель регулирования вакуума для держателей пластин и дополнительных держателей для калибровочной пластины и пластины для очистки щупов находится с правой части зондовой станции, что обеспечивает быстрый доступ во время процедуры загрузки/разгрузки.
Интегрированные температурные держатели
Управление температурным держателями (от 20°C или температуры окружающего воздуха до 300°C максимально) осуществляется с помощью встроенного в корпус станции сенсорного дисплея, удобно размещенного перед оператором, обеспечивая быстрое выполнение команд и своевременное реагирование.
Одновременная работа с держателями проб-карт и микропозиционерами
Благодаря возможности проведения одновременных измерений с множеством одиночных игл, держателю низкопрофильных плат размером 4,5” x 11” и уменьшенному расстоянию между пластиной и держателем данная станция оптимальна для дизайна ИС/или для анализа отказов и повреждений.
Встроенный светозащитный кожух DarkBox
Модель TS2000-D представляет собой полуавтоматическую зондовую станцию с уже интегрированным светозащитным кожухом DarkBox! Оптимальность занимаемой поверхности, встроенная система блокировки, LED подсветка и стандартизированные интерфейсные панели для различных измерительных приборов делают систему предпочтительным вариантом для проведения испытаний в условиях защиты от воздействия света и лазера. Удобный доступ со стороны задней панели облегчает и ускоряет процесс изменения конфигураций или начальной настройки.
Интеграция инструментов
Полка для инструментов (предлагается опционально) позволяет снизить длину кабелей и увеличить точность измерений и направленность.
Программный пакет SENTIO™
Управление автоматизированными зондовыми системами компании MPI осуществляется уникальным и продвинутым мультисенсорным программным комплектом SENTIO™, который представляет собой интуитивно-понятный интерфейс, значительно экономящий время на обучение. Команды «Scroll» (просмотреть), «Zoom» (увеличить), «Move» (переместить) имитируют современные смартфоны и ускоряют процедуру управления. Переключение между активным измерением и остальными приложениями выполняется очень просто.
Разработанное компанией MPI программное обеспечение для высокочастотной калибровки QAlibria™ для простоты использования полностью сопряжено с пакетом SENTIO™ с соблюдением одной функциональной концепции.
Все покупки на сайте осуществляются с помощью безналичной оплаты.
Все платежи для физических лиц осуществляются через сервис Paykeeper.
Также возможно оформление счета для оплаты от юридического лица (мы работаем с НДС).
Подробная информация на странице «Условия оплаты».

Мы доставляем грузы несколькими транспортными компаниями, подробнее узнать о которых вы можете в разделе «доставка».
Выбрать вариант доставки вы можете при оформлении заказа на сайте, либо связавшись с менеджером
Срок поставки менеджер уточнит после оформления заявки.